上海申弘閥門有限公司
聯系人:申弘閥門
手機:15901754341
傳真:86-021-31662735
郵箱:494522509@qq.com
地址:上海市青浦區金澤工業園區
H42X不銹鋼底閥技術參數
是一種節約能源的閥,一般安裝在水泵水下吸管的底端限制水泵管內液體返回水源,起著只進不出的功能。閥蓋上有很多個進水口和加強筋起到了不易堵塞,主要應用在抽水的管路上水道和支承的作用,連接方式有法蘭連接和螺紋連接。主要由閥體,閥芯,閥瓣,過濾網等組成,一般承受壓力為2.5公斤。
結構原理
H42X不銹鋼底閥由閥體,閥瓣,閥蓋,襯套,密封圈等零件組成,詳見下圖水源的水從閥蓋進入閥體。在流體的壓力作用下,閥瓣打開水,當示停后出口管內的壓力將閥瓣迅速關閉,液體將不會倒回水源,起到了即暢通抽水又節約水能損失的作用。
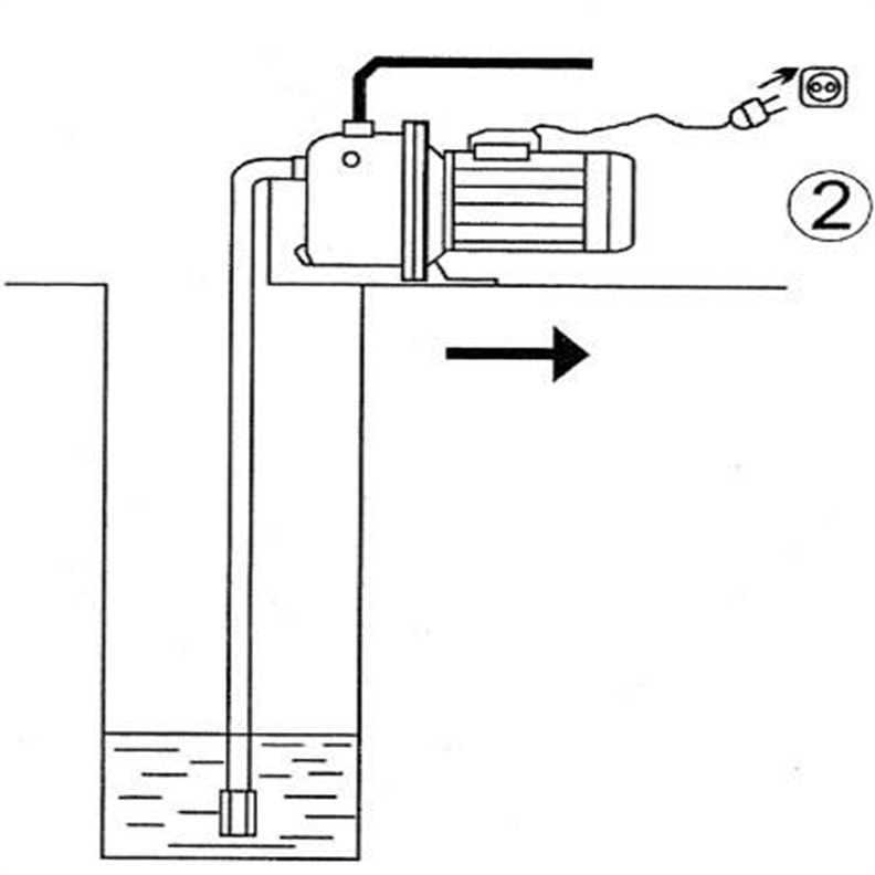
水泵底閥,又叫逆止閥,是一種專門為低壓環境設計的平板閥,一般安裝在水泵水下吸管的底部,也有安裝在水面以上的水上式底閥。它能確保液體在吸入管道內單向流動,在離心泵短暫停機時,防止液體回流至水源箱,讓吸水管始終充滿液體,方便水泵再次啟動。

H42X不銹鋼底閥技術參數水泵底閥原理
單向導通性
底閥內部裝有單向閥(如橡膠瓣或金屬彈簧閥),當水泵啟動時,泵內形成負壓,底閥在外部水壓作用下自動開啟,水從進水口流入泵體;停泵時,底閥在重力或彈簧作用下關閉,防止水倒流回水源,避免泵體空轉或損壞。水泵底閥一般安裝在水泵底部或者水下吸管的底端,它就像一個“單向小衛士",主要作用是防止介質(通常是水)逆流。當水泵工作時,它能讓水順利進入水泵;水泵停止工作后,它又能迅速關閉,阻止水倒回水源,這樣既保證抽水過程的順暢,又能節約水能損失。
防虹吸功能
在管道坡度較大或水源低于泵體時,底閥可防止因虹吸效應導致的水倒流,維持系統穩定性。
二、H42X不銹鋼底閥技術參數水泵底閥材質
鑄鐵(HT200/HT250)

三、H42X不銹鋼底閥技術參數水泵底閥作用
特點:成本低、耐壓性強,適用于一般清水環境。
局限:易生銹,需定期維護,不適合腐蝕性液體。
不銹鋼(304/316L)
特點:耐腐蝕、壽命長,適用于海水、化工液體等腐蝕性介質。
應用:海洋工程、化工流程泵等場景。
塑料(PVC/PP)
特點:輕便、耐酸堿,成本低。
局限:耐溫性差,適用于低溫、弱腐蝕性液體(如農業灌溉)。
銅合金
特點:耐海水腐蝕,導電性好,但成本較高。
應用:船舶、海洋平臺等特殊場景。
防止倒流
避免停泵時水倒流導致泵體空轉、葉輪磨損或電機燒毀。保護水泵
減少因頻繁啟停或倒流引起的機械沖擊,延長設備壽命。維持系統壓力
在多泵并聯或長距離輸水系統中,防止倒流引發的壓力波動。簡化操作
無需手動關閉閥門,實現自動啟停控制。
四、H42X不銹鋼底閥技術參數典型應用場景

農業灌溉
用于抽水機、潛水泵的進水端,防止停泵時水倒灌回井或池塘。
工業供水
化工、造紙、食品等行業的水泵系統,確保介質單向流動。
市政工程
城市供水、污水處理中的水泵保護,防止污水倒流污染水源。
建筑領域
高層建筑消防泵、空調循環泵的進水端,維持系統穩定性。
船舶與海洋工程
船用壓載泵、消防泵的底閥,需采用耐海水腐蝕材質(如銅合金或316不銹鋼)。
性能規范
適用介質:水、油、及非腐蝕性介質
適用溫度:≤80 ℃
主要密封材料:灰鑄鐵、丁腈橡膠
執行標準:Q/12 NJ3583-2001
試驗標準:GB/T13927-1992

H42X不銹鋼底閥技術參數零件材料
零件名稱 | 材料 |
閥體、閥蓋、閥瓣 | 灰鑄鐵、鑄鋼、不銹鋼 |
密封圈 | 橡膠 |
墊片 | 石棉板 |
外形結構圖

H42X不銹鋼底閥技術參數主要外形尺寸
型號 | 公稱通徑DN(mm) | 尺寸(mm) | 重量(kg) | |||||||
D | D1 | D2 | b-f | Z-Φd | D0 | h0 | H | |||
H42X-2.5 | 50 | 140 | 110 | 90 | 16-3 | 4-14 | 135 | 17 | 142 | 4 |
65 | 160 | 130 | 110 | 16-3 | 4-14 | 168 | 25 | 180 | 6.5 | |
80 | 185 | 150 | 125 | 18-3 | 4-18 | 198 | 32 | 197 | 8.5 | |
100 | 205 | 170 | 145 | 18-3 | 4-18 | 247 | 40 | 230 | 143.5 | |
125 | 235 | 2500 | 175 | 20-3 | 8-18 | 272 | 43 | 270 | 18 | |
150 | 260 | 225 | 200 | 20-3 | 8-18 | 315 | 38 | 297 | 24 | |
200 | 315 | 280 | 255 | 22-3 | 8-18 | 405 | 65 | 382 | 38 | |
250 | 370 | 335 | 310 | 24-3 | 12-18 | 465 | 84 | 460 | 64 | |
300 | 435 | 395 | 262 | 24-4 | 12-23 | 510 | 90 | 530 | 98 | |
五、水泵底閥選型注意事項

介質兼容性
根據液體酸堿度、溫度選擇材質(如不銹鋼用于鹽水,塑料用于弱酸)。
壓力與流量
底閥的公稱壓力需高于系統最工作壓力,流量需匹配水泵額定流量。
安裝方式
垂直安裝時需確保閥瓣能自由開閉,避免雜物堵塞。
維護需求
鑄鐵底閥需定期除銹涂漆,不銹鋼底閥維護成本較低。
六、水泵底閥常見問題
底閥漏水:可能是閥瓣磨損或密封不嚴,需更換橡膠瓣或清理雜物。
開啟壓力過高:檢查閥瓣是否卡滯或彈簧過緊,需調整或清洗。
腐蝕穿孔:材質選擇不當導致,需更換為耐腐蝕材質。
通過合理選型和定期維護,水泵底閥可顯著提升系統可靠性和設備壽命,是水泵運行中的“守護閥"。
離心水泵底閥是安裝在水泵進口處的一種過濾器,主要作用是防止水流逆流,保證水泵正常運轉。

二、H42X不銹鋼底閥技術參數底閥選型
底閥的選型應根據水泵進口管的直徑和泵體的口徑來確定,口徑相同或略大于泵體的口徑即可。
三、底閥安裝位置
底閥應安裝在垂直管道中的底部,距離地面不少于0.5m,距離墻面應有足夠的空隙,以便于拆卸和維護。
四、底閥安裝方法
1. 安裝前清洗:將底閥放進清潔水中清洗,除去表面雜質和沉積物。
2. 安裝方向:底閥的箭頭方向應與水流的方向一致,保證水能正常流過。
3. 接口平整:底閥與進水管接口密封應平整、均勻,無松動、變形、柿油等現象。
4. 固定連接:將底閥與進水管用螺栓、鋼絲等方式固定牢固,防止因水流沖擊而移位。
五、底閥維護
1. 定期清洗:底閥應定期清洗,每半年至少清洗一次,避免雜質和沉積物阻塞底閥進口,影響水泵正常運轉。
2. 維護閥門:檢查底閥閥門的開合是否靈活自如,如有卡滯現象應及時保養,避免影響水泵運行效率。
總之,底閥是離心水泵中的一部分,正確的安裝和維護可以保證離心水泵長期穩定運行,給您帶來可靠的保障。
